ÓŵÂ88×îйÙÍø

Ê×Ò³
²úÆ·ÖÐÐÄ
µçÔ´ IC
¿É¿Ø¹è¹ýÁã¼ì²âÇý¶¯

¿É¿Ø¹è¹ýÁã¼ì²âÇý¶¯

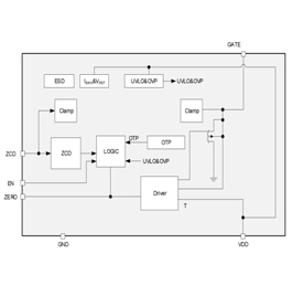
¸Ã²úÆ·ÊÇÒ»¿îÄÚÖùýÁã¼ì²â¹¦Ð§µÄ¿É¿Ø¹èÇý¶¯¿ØÖÆÐ¾Æ¬¡£¡£¡£¡£ ¡£ ¡£ ¡£¡£ÄÚÖùýα£»£»£»£»£»¤¡¢¹ýѹóéλ±£»£»£»£»£»¤µÈµç·¡£¡£¡£¡£ ¡£ ¡£ ¡£¡£Ð¾Æ¬½ÓÄɸºµçÔ´¹©µç£¬£¬£¬£¬£¬¾ßÓиߵļì²âѸËÙ¶È£¬£¬£¬£¬£¬´ÓÊäÈëµçѹÁãµã×îÏȵ½Ð¾Æ¬Êä³öÐźŴ¥·¢¿É¿Ø¹èÊÂÇ飬£¬£¬£¬£¬»ù±¾ÎÞÑÓ³Ù¡£¡£¡£¡£ ¡£ ¡£ ¡£¡£Ð¾Æ¬¿ÉÒÔͬ MCU ºÍ¿É¿Ø¹èÁª¶¯Ê¹Ó㬣¬£¬£¬£¬ÎÞÐèÍⲿ·Å´óµç·¾ÍÄܸüºÃµÄÇý¶¯´ó´¥·¢¿É¿Ø¹èÊÂÇé¡£¡£¡£¡£ ¡£ ¡£ ¡£¡£
CloseOpen Filters

±¾ÍøÕ¾Ê¹ÓÃcookie¡£¡£¡£¡£ ¡£ ¡£ ¡£¡£¼ÌÐøä¯ÀÀ±¾ÍøÕ¾£¬£¬£¬£¬£¬¼´ÌåÏÖÄúÔÞ³ÉÎÒÃÇʹÓÃcookies¡£¡£¡£¡£ ¡£ ¡£ ¡£¡£

¡¾ÍøÕ¾µØÍ¼¡¿¡¾sitemap¡¿